计算机毕业设计之基于行为特征和yolov11的游戏反作弊系统设计与实现-
本研究提出基于YOLOv11算法和玩家行为特征分析的在线游戏反作弊系统,通过视频数据采集和深度学习技术实现作弊行为的实时检测。系统兼顾检测精度与实时性,并提供可视化报表功能,有效维护游戏公平性。研究为反作弊领域提供了创新技术方案,有助于促进行业健康发展。
·
本研究针对当前在线游戏中作弊行为日益严重的问题,提出了一种基于行为特征和YOLOv11算法的游戏反作弊系统。系统通过采集游戏场景中的视频数据,利用深度学习技术对玩家行为进行特征提取和分析,实现了对作弊行为的实时检测和识别。YOLOv11算法的高效性和准确性保证了系统在处理大规模数据时的实时性和检测精度,有效提升了游戏环境的公平性和安全性。
此外,系统还包括了视频识别和检测报表功能,能够直观展示作弊行为的统计数据和趋势,为游戏运营商提供了有力的管理工具。本研究不仅为游戏反作弊领域提供了新的技术思路,也为推动游戏行业的健康发展贡献了实践成果。通过对系统的持续优化和扩展,有望在未来进一步遏制游戏作弊现象,保护广大玩家的合法权益。
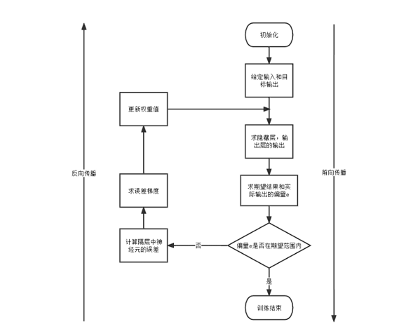
图4-4 模型训练

图5-4 检测报表模块
魔乐社区(Modelers.cn) 是一个中立、公益的人工智能社区,提供人工智能工具、模型、数据的托管、展示与应用协同服务,为人工智能开发及爱好者搭建开放的学习交流平台。社区通过理事会方式运作,由全产业链共同建设、共同运营、共同享有,推动国产AI生态繁荣发展。
更多推荐



所有评论(0)