计算机毕业设计springboot企业办公管理系统 基于Spring Boot的企业级办公自动化系统设计与实现 Spring Boot驱动的企业办公信息化管理平台构建
本文介绍了一个基于SpringBoot框架开发的企业办公管理系统,该系统采用B/S架构,包含管理员和员工两种角色。系统主要功能包括部门管理、员工信息管理、考勤管理、出差申请、工资管理、请假管理、奖惩管理和通知公告等模块,实现了企业办公流程的数字化管理。系统使用Java语言开发,MySQL数据库存储数据,具有操作简便、安全性高、可扩展性强等特点。通过模块化设计,系统能够有效提升企业办公效率和管理水平
计算机毕业设计springboot企业办公管理系统m2gf49 (配套有源码 程序 mysql数据库 论文)
本套源码可以在文本联xi,先看具体系统功能演示视频领取,可分享源码参考。
随着信息技术的飞速发展,企业办公管理逐渐从传统的人工模式向信息化、自动化转型。在这样的背景下,开发一套高效、便捷的企业办公管理系统显得尤为重要。它不仅能提升企业的管理效率,还能优化资源配置,为企业在激烈的市场竞争中赢得优势。
本文将介绍一个基于Spring Boot框架的企业办公管理系统。该系统采用现代化的开发技术和架构,旨在为企业提供全面的办公管理解决方案。系统的主要功能包括:
-
首页展示:提供系统的核心功能入口和重要信息概览。
-
个人中心:员工可以查看和修改个人信息,如联系方式、头像等。
-
部门管理:支持部门信息的增删改查操作,方便企业进行组织架构调整。
-
员工管理:实现对员工信息的全面管理,包括入职、离职、调动等操作。
-
员工考勤管理:记录员工的考勤情况,支持迟到、早退、请假等考勤类型的统计与查询。
-
出差申请管理:员工可以提交出差申请,管理员可进行审批和管理。
-
工资信息管理:录入和查询员工工资信息,支持工资发放记录的管理。
-
员工请假管理:员工提交请假申请,管理员进行审批和记录。
-
奖惩信息管理:记录员工的奖惩情况,便于企业进行绩效考核。
-
通知公告管理:发布和管理企业内部的通知公告,确保信息传达的及时性。
这些功能覆盖了企业办公管理的各个方面,从基础的人员信息管理到复杂的考勤和绩效管理,系统提供了全面的支持。通过模块化设计,各功能模块相互独立又紧密协作,确保了系统的稳定性和可扩展性。总体而言,该系统为企业提供了一个高效、便捷的办公管理平台,能够显著提升企业的运营效率和管理水平。
注:以上是纯课题毕业设计功能介绍,并非实际开发完成,最终开发完成的毕业设计程序以下面的的环境软件、功能图和界面为准。
系统所需要的环境软件:idea、eclipse+mysql5.7、8.0+Navicat+JDK1.8+tomcat7.0
3.1整体分析
系统的分析主要分为两种,一种是需求分析,需求分析的意义在于能更快地把这个系统的架构逻辑都整理分析清楚,另一种是功能分析,功能分析的意义在于分析如何更快地处理整个系统的细节部分[3]。
根据查阅资料分析,企业办公管理系统主要是每个内部使用,为使用者提供可视化的企业办公来支撑服务[4]。该管理系统的设计与实现主要是为了解决当前企业办公管理繁杂的问题,实现高效率的规范化管理。本系统的设计实现不仅要满足当前的需要,还需具备良好的可发展性以满足未来发展的需要。
本系统通过分模块设计,主要实现首页、个人中心、部门管理、员工管理、员工考勤管理、出差申请管理、工资信息管理、员工请假管理、奖惩信息管理、通知公告管理等的一体化管理。此外,该系统属于B/S结构,简单易上手,只需体验几次,用户就可以很熟练地使用各种功能[5]。
3.2功能需求分析
企业办公是现如今社会信息交流中一个重要的组成部分,本文将从企业办公管理的需求和现状进行分析,使得本系统的设计实现具有可使用的价。做出一个实用性好的企业办公管理系统,使其能满足员工的需求,并可以让员工更方便快捷地管理企业办公。企业办公管理系统的设计开发,目的主要是为了简化企业办公的管理过程,使管理员更好地完成工作,在工作中实现高效快捷的管理效率。
本文从企业办公管理的实际需要出发,为降低系统的耦合性,采用SPRINGBOOT框架集完成了系统总体架构的设计,以提高系统的重用性、可适用性及可维护性。系统包括管理员和员工两个角色;
管理员用例如下所示:
图3-1管理员用例图
员工用例如下所示:
图3-2员工用例图
3.3系统可行性分析
3.3.1技术可行性
技术可行性研究通过是否,在于对目前技术和硬件设备的剖析。系统软件开发应用的计算机语种是Java。Java语言从问世到现在不断强化,已经十分完善。运用覆盖面广,合乎开发必须。应用MySQL数据库作为数据储存,十分具有安全性,对配备规定低。这是一个经常使用的数据库。前端采用Java技术,就可以进行开发设计,让网页页面看上去又漂亮又大方,还方便维护。最终,开发环境是IDEA,因为其中包含框架和函数等等,可以立即应用。因此在技术方面是可行的。
3.3.2经济可行性
经济发展的可行性分析要从开发商的经济发展能力和用户必须的成本费2个层面来剖析。为了更好地减少项目成本,系统软件应用IDEA做为开源版本。数据库查询是开源MySQL数据库和配置好操作系统的电子计算机。用户通常挑选Tomcat7.0做为系统软件所处的网络服务器,而电脑浏览器应用出色的IE、火狐和Google更全方位地展现CSS网页页面,进而推动系统升级维护保养,控制成本。如此看来,处于经济层面的考虑,进行开发没有阻碍。
3.3.3操作可行性
本企业办公管理系统选用B/S构造,用户不用安装其他软件就可以轻轻松松掌握和娴熟应用。与此同时,因为系统是基于springboot的,可以实现客户端的请求和服务器的端口组件,解决数据库文件的数据并回到结论。为了更好地组建和储存数据,数据库可以确保数据的一致性。一旦对数据开展操作,工作会越来越更简易,工作量也会降低。全部操作都由系统自身操纵。该系统大大减少了有关工作人员的工作量,也更便捷的让工作人员掌握具体操作全过程。既加速了工作效率,又下降了错误率。在操作上是可行的。
经过总结,该系统在经济、技术和操作方面都符合要求,并且是具有可行性的。
3.4系统流程分析
3.4.1操作流程
首先为系统登录页面。进入页面后,用户可进行登录和注册的操作。点击登录后,页面就会出现一个登录提示框,向用户传达信息:要进行用户名和密码的输入,完成后才可以进行下一步的操作。用户输入完成后,系统会将输入的信息提交给后台,与数据库中的信息记录进行比较判断。判断比较内容主要分为三个方面:从用户名是否为空、输入的密码是否为空、用户名和密码是否匹配三方面进行判断。只有上述三个条件同时满足,数据库中的信息匹配正确,才视为登陆成功,方可完成后续的操作。若以上三种情况有一条不满足,则会提示该次登录错误,就需要进行重新登录。系统登录流程图如图3-3所示:
图3-3登录流程图
3.4.2添加信息流程
然后是添加信息的页面。进入该页面后,页面会出现一个提示框,示意操作者可以进行信息的添加,从而进行下一步的操作。用户输入想要添加的信息后提交,系统会对输入的内容进行检测。如果检测后输入的信息正确,则会出现“添加成功”的提示框,从而可以进行下一步操作;如果系统检测后检测到想要添加的信息不符合规范要求,则会提示报错,需要进行修改后重新添加。添加信息流程图如图3-4所示:
图3-4添加信息流程图
3.4.3删除信息流程
最后为删除信息页面。进入该页面后,用户可以对所要删除的信息进行选择,选择好删除的内容后,会有一个“是否确认删除”的提示框,操作者可以根据自己的意愿来选择“是”或“否”。完成上述操作,系统会自动的对删除的内容进行判断,如果符合删除要求则会成功删除数据记录,并且更新数据库的内容信息;如果删除的数据记录不符合要求,则会有一个“删除失败”的提示框,操作人员需要根据提示来进行修改,修改完成后重新删除知道删除成功。删除信息流程图如图3-5所示:
图3-5删除信息流程图
4系统设计
4.1系统体系结构
企业办公管理系统的结构图4-1所示:

图4-1系统结构
登录系统结构图,如图4-2所示:

图4-2登录结构图
4.2系统总功能结构设计
系统按照用户的实际需求开发而来,贴近生活。从管理员通过正确的账号的密码进入系统,可以使用相关的系统应用。管理员总体负责整体系统的运行维护,统筹协调。
系统整体模块设计:系统分为管理员和员工两大角色,系统管理员有最大的权限,总体功能展示如图4-3所示。

图4-3系统总体功能图
4.3数据库设计
数据库设计(DatabaseDesign)是针对特定的数据库管理体系,针对特定的数据库进行结构和构建的流程。
在信息系统的开发与推荐中,数据库的设计是实现数据库与应用的关键技术。因为数据库应用系统的复杂性,使得数据库的开发工作非常复杂,所以优化的设计不是一朝一夕就可以完成的,而是一个“循序渐进”的过程,即将数据库中的数据目标和它们的相互关系进行计划和组织。
通过对企业办公管理系统的主要功能信息进行规划并分为若干功能实体信息[14],实体信息将使用E-R图加以表示,本系统的主要功能实体图如下图所示:

图4-4员工考勤实体属性图

图4-5员工实体属性图

图4-6用户实体属性图

图4-7通知公告实体属性图

图4-8奖惩信息实体属性图
5.1系统登录注册模块实现
当人们打开系统的网址后,首先看到的就是登录界面。在登录页面输入登录信息进行登录操作,系统登录页面如图5-所示:

图5-1系统登录页面
系统注册:在注册页面输入会员注册信息进行注册操作,系统注册页面如图5-2所示:

图5-2系统注册页面
5.2管理员模块实现
管理员进入主页面,主要功能包括对首页、个人中心、部门管理、员工管理、员工考勤管理、出差申请管理、工资信息管理、员工请假管理、奖惩信息管理、通知公告管理等进行操作。管理员主界面如图5-3所示:

图5-3管理员主界面
管理员点击部门管理。在部门页面输入部门进行查询、新增或删除部门列表,并根据需要对部门详情信息进行详情、修改或删除操作;如图5-4所示:

图5-4部门管理界面
管理员点击员工管理。在员工页面输入员工工号、员工姓名进行查询、新增或删除员工列表,并根据需要对员工详情信息进行详情、修改或删除操作;如图5-5所示:

图5-5员工管理界面
管理员点击员工考勤管理。在员工考勤页面输入考勤类型进行查询或删除员工考勤列表,并根据需要对员工考勤详情信息进行详情、修改或删除操作;如图5-6所示:

图5-6员工考勤管理界面
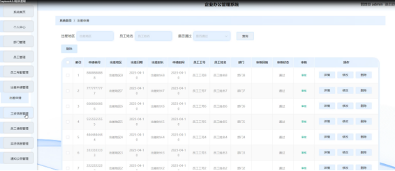
管理员点击出差申请管理。在出差申请页面输入出差地区、员工姓名、是否通过进行查询、删除出差申请列表,并根据需要对出差申请详情信息进行详情、修改或删除操作;如图5-7所示:

图5-7出差申请管理界面
5.3员工模块实现
员工进入系统可以对首页、个人中心、员工考勤管理、出差申请管理、工资信息管理、员工请假管理、奖惩信息管理、通知公告管理等功能进行操作。员工主界面如图5-8所示:

图5-8员工主界面
员工点击员工考勤管理。在员工考勤页面输入考勤类型进行查询、新增或删除员工考勤列表,并根据需要对员工考勤详情信息进行详情、修改或删除操作;如图5-9所示:

图5-9员工考勤管理界面
员工点击工资信息管理。在工资信息页面输入员工工号、发薪月份进行查询工资信息列表,并根据需要对工资信息详情信息进行详情操作;如图5-10所示:

图5-10工资信息管理界面
源码无偿分享,文未领取
魔乐社区(Modelers.cn) 是一个中立、公益的人工智能社区,提供人工智能工具、模型、数据的托管、展示与应用协同服务,为人工智能开发及爱好者搭建开放的学习交流平台。社区通过理事会方式运作,由全产业链共同建设、共同运营、共同享有,推动国产AI生态繁荣发展。
更多推荐


所有评论(0)