计算机毕业设计之springboot基于微信的家禽管理系统设计与实现
本次系统所涉及到的有关的功能,都是用功能结构图来简洁和清晰的表示出来,功能结构图就是能够把比较复杂的功能结构用图的形式清晰的描绘下来,并且为后续的设计以及测试等模块提供了明确的方向,在构思功能结构图的时候,便可以给设计的过程带来一定的思维导向,不至于在设计过程中有所遗漏,可以尽可能的明确系统所涉及到的功能。的随意管理,提高了信息的处理速度和精确度,能够及时、准确地查询和修正。的标准化、制度化、程序
相比于以前的传统手工管理方式,智能化的管理方式可以大幅降低用户的运营人员成本,实现了微信小程序的家禽管理系统的标准化、制度化、程序化的管理,有效地防止了家禽的随意管理,提高了信息的处理速度和精确度,能够及时、准确地查询和修正饲养知识、交流论坛、在线咨询等信息。
课题主要采用Uni-weixin、springboot架构技术,前端以小程序页面呈现给用户,结合后台java语言使页面更加完善,后台使用MySQL数据库进行数据存储。微信小程序主要包括饲养知识、交流论坛、在线咨询等功能,从而实现智能化的管理方式,提高工作效率。
本次系统所涉及到的有关的功能,都是用功能结构图来简洁和清晰的表示出来,功能结构图就是能够把比较复杂的功能结构用图的形式清晰的描绘下来,并且为后续的设计以及测试等模块提供了明确的方向,在构思功能结构图的时候,便可以给设计的过程带来一定的思维导向,不至于在设计过程中有所遗漏,可以尽可能的明确系统所涉及到的功能。
系统的功能结构图如图4-1所示。

图 4-1系统功能结构图
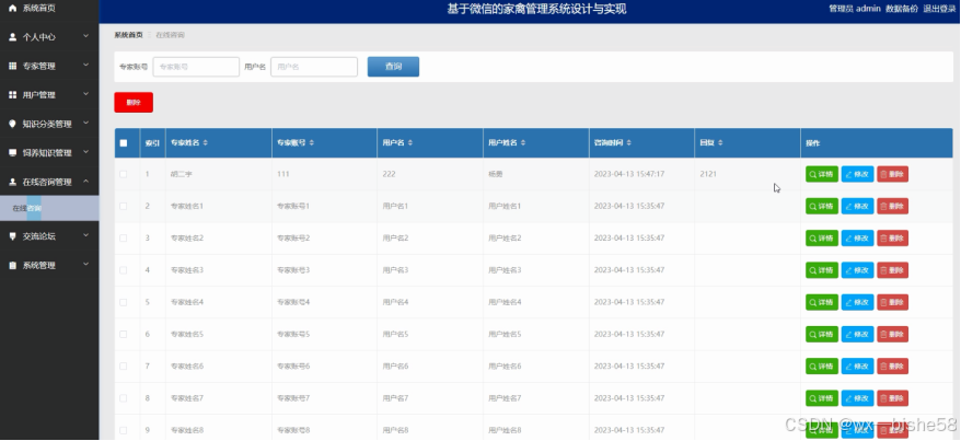
管理员点击在线咨询管理,在在线咨询管理页面对专家姓名、专家账号、用户名、用户姓名、咨询时间、回复等信息,进行查询或删除在线咨询等操作;如图5-6所示。

图5-6在线咨询管理界面图
魔乐社区(Modelers.cn) 是一个中立、公益的人工智能社区,提供人工智能工具、模型、数据的托管、展示与应用协同服务,为人工智能开发及爱好者搭建开放的学习交流平台。社区通过理事会方式运作,由全产业链共同建设、共同运营、共同享有,推动国产AI生态繁荣发展。
更多推荐
所有评论(0)