linux基础(三)——应用及学习方法
一、应用1、基于linux的企业级服务器使用Netcraft网站来查询网站的服务器 (netcraft是一个基于web页面的扫描器,用于踩点(黑客攻击的第一步也需要踩点)但是这个网站是用于大家学习和了解知识所用的)https://www.netcraft.com/在网站的底部:查看一下百度的后台:可以看见百度的后天服务器托管都是使用的基于linux的操作系统查看一下...
一、应用
1、基于linux的企业级服务器
--使用Netcraft网站来查询网站的服务器 (netcraft是一个基于web页面的扫描器,用于踩点(黑客攻击的第一步也需要踩点)但是这个网站是用于大家学习和了解知识所用的) https://www.netcraft.com/
在网站的底部:
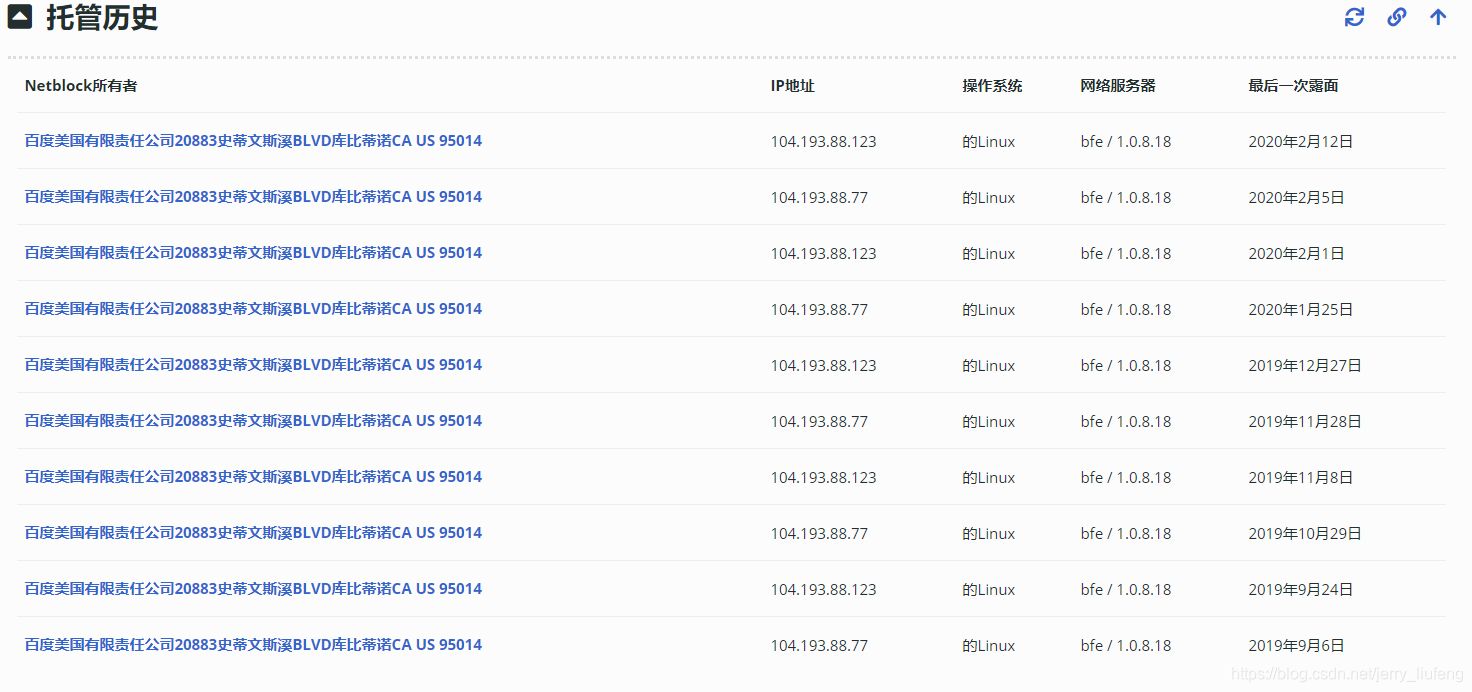
查看一下百度的后台:

可以看见百度的后台服务器托管都是使用的基于linux的操作系统
查看一下microsoft的后台服务器:

由此可见甚至是微软其后台服务器的操作系统都是linux内核的。
2、嵌入式应用:
--以计算机技术为基础,适用于各种应用平台,对功能、可靠度、成本、体积、能耗有严格要求的计算机系统的应用。几乎涵盖了生活中的全部电器设备:手机、平板电脑、智能电视、汽车、医疗器械、自动售货机等等。
其中比较可见的便是安卓系统(Android)。安卓系统是基于linux的开源系统,在生活中广泛的应用,很多手机和平板都是安卓系统,是Google为移动终端打造的真正开放和免费的移动软件。
根据网上的结果:全球顶尖的超级计算机中,有约60%的安装了linux内核的操作系统,30%是Unix操作系统,只有少部分是AIX操作系统、freeBSD操作系统和微软操作系统等等。
3、电影娱乐业
一开始我很迷茫linux在电影娱乐行业竟然还有应用???直到……
制作电影特效:《侏罗纪公园》、《泰坦尼克号》、《星球大战》、《指环王》、《哈利波特》、《史瑞克》、《辛巴达》
不配图了!!!
为什么要用linux内核的操作系统来制作这些特效电影?:
1、linux是开源的,相对于其他的操作系统其相对廉价和安全性能更高
2、linux在图形处理方面性能方面质的飞跃
3、linux的运行性能
4、软件商的投入
5、开源的工具软件(其实很多正版的工具软件都是十分昂贵的,而开源的软件对于制作者有着非常大的吸引力)
二、学习方法:
魔乐社区(Modelers.cn) 是一个中立、公益的人工智能社区,提供人工智能工具、模型、数据的托管、展示与应用协同服务,为人工智能开发及爱好者搭建开放的学习交流平台。社区通过理事会方式运作,由全产业链共同建设、共同运营、共同享有,推动国产AI生态繁荣发展。
更多推荐

所有评论(0)