【FFmpeg实战】ffmpeg播放器-音视频解码流程
封装格式上下文结构体,全局结构体,保存了视频文件封装格式相关信息:每种封装格式,对应一个该结构体:视频文件中每个视频(音频)流对应一个该结构体:编码器上下文结构体,保存了视频(音频)编解码相关信息AVCodec:每种视频(音频)编解码器(例如H.264解码器)对应一个该结构体。
音视频介绍
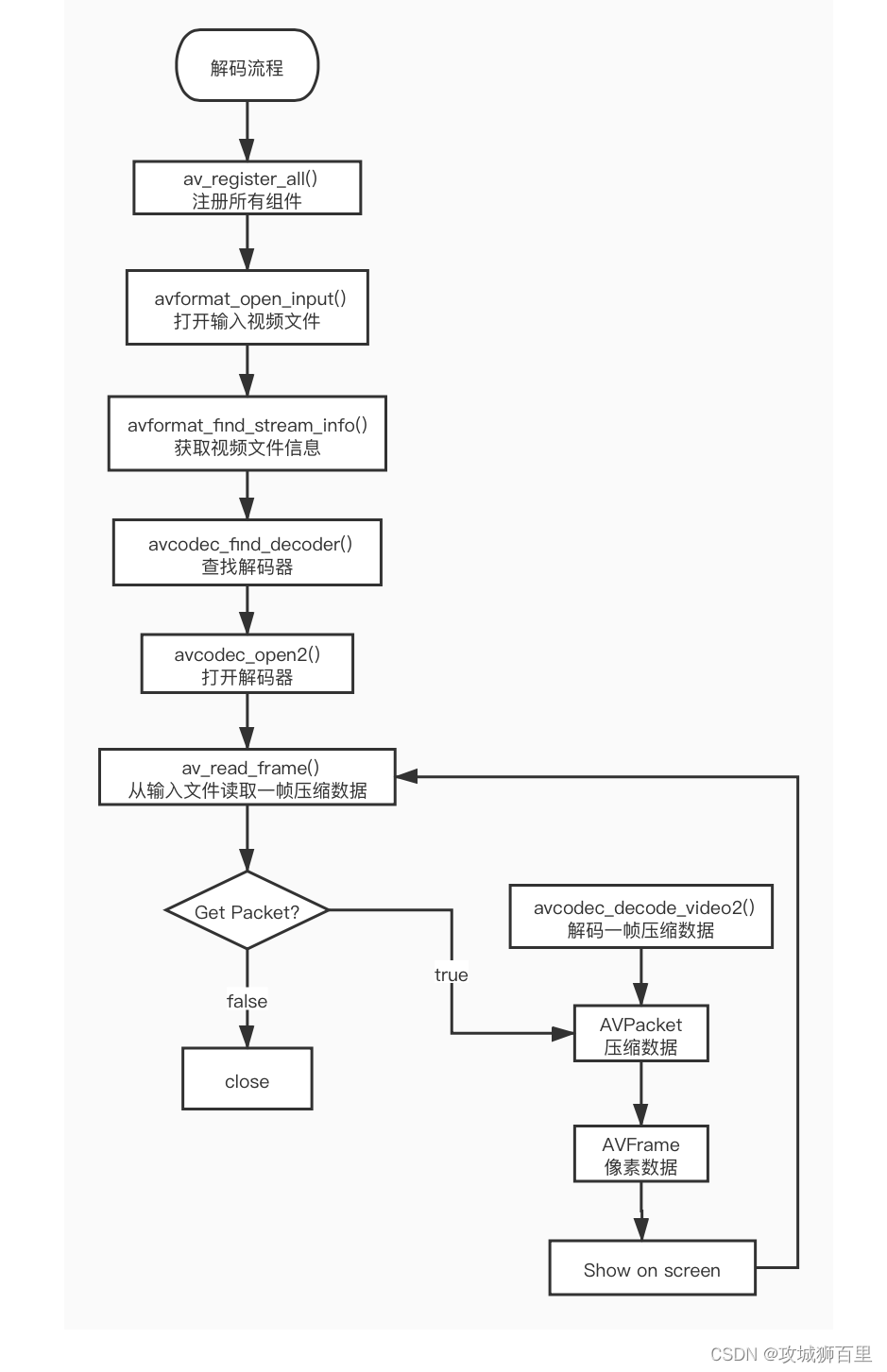
音视频解码流程

FFmpeg解码的数据结构说明

- AVFormatContext:封装格式上下文结构体,全局结构体,保存了视频文件封装格式相关信息
- AVInputFormat:每种封装格式,对应一个该结构体
- AVStream[0]:视频文件中每个视频(音频)流对应一个该结构体
- AVCodecContext:编码器上下文结构体,保存了视频(音频)编解码相关信息
- AVCodec:每种视频(音频)编解码器(例如H.264解码器)对应一个该结构体
AVFormatContext数据结构说明

- iformat:输入视频的AVInputFormat
- nb_streams:输入视频的AVStream 个数
- streams:输入视频的AVStream []数组
- duration:输入视频的时长(以微秒为单位)
- bit_rate:输入视频的码率
AVInputFormat数据结构说明

- name:封装格式名称
- long_name:封装格式的长名称
- extensions:封装格式的扩展名
- id:封装格式ID
- 一些封装格式处理的接口函数
AVStream数据结构说明

- id:序号
- codec:该流对应的AVCodecContext
- time_base:该流的时基
- avg_frame_rate:该流的帧率
AVCodecContext数据结构说明

- codec:编解码器的AVCodec
- width, height:图像的宽高
- pix_fmt:像素格式
- sample_rate:音频采样率
- channels:声道数
- sample_fmt:音频采样格式
AVCodec数据结构说明

- name:编解码器名称
- long_name:编解码器长名称
- type:编解码器类型
- id:编解码器ID
- 一些编解码的接口函数
AVPacket数据结构说明

- pts:显示时间戳
- dts:解码时间戳
- data:压缩编码数据
- size:压缩编码数据大小
- stream_index:所属的AVStream
AVFrame数据结构说明

- data:解码后的图像像素数据(音频采样数据)
- linesize:对视频来说是图像中一行像素的大小;对音频来说是整个音
- width, height:图像的宽高
- key_frame:是否为关键帧
- pict_type:帧类型(只针对视频) 。例如I,P,B
音视频实战
将编译好的FFmpeg库考入到工程

编写CMakeLists.txt
cmake_minimum_required(VERSION 3.4.1)
file(GLOB source_file *.cpp)
message("source_file = ${source_file}")
add_library(
z-player
SHARED
${source_file})
include_directories(${CMAKE_SOURCE_DIR}/include)
set(CMAKE_CXX_FLAGS "${CMAKE_CXX_FLAGS} -L${CMAKE_SOURCE_DIR}/libs/${CMAKE_ANDROID_ARCH_ABI}")
find_library(
log-lib
log)
target_link_libraries(
z-player
# 方法一:使用-Wl 忽略顺序
# -Wl,--start-group #忽略顺序引发的错误
# avcodec avfilter avformat avutil swresample swscale
# -Wl,--end-group
# 方法二:调整顺序
avformat avcodec avfilter avutil swresample swscale #必须要把avformat放在avcodec的前面
${log-lib}
z)
这里target_link_libraries方法有两个问题:
1.FFmpeg是需要依赖了libz.so库的如下图:
所有要在target_link_libraries方法里添加z,否则会报错

2.FFmpeg添加顺序问题,
当我们添加
avcodec avfilter avformat avutil swresample swscale
这样一个顺序时会报错
解决方法有两个:
第一个:将avfilter放到avcodec前面就可以了
avformat avcodec avfilter avutil swresample swscale
第二个:使用-Wl忽略顺序
-Wl,--start-group #忽略顺序引发的错误
avcodec avfilter avformat avutil swresample swscale
-Wl,--end-group
编码
FFmpeg播放器结构类图

编写ZPlayer.java类
public class ZPlayer implements LifecycleObserver, SurfaceHolder.Callback {
private static final String TAG = ZPlayer.class.getSimpleName();
static {
System.loadLibrary("z-player");
}
private final long nativeHandle;
private OnPrepareListener listener;
private OnErrorListener onErrorListener;
private SurfaceHolder mHolder;
private OnProgressListener onProgressListener;
public ZPlayer() {
nativeHandle = nativeInit();
}
/**
* 设置播放显示的画布
* @param surfaceView
*/
public void setSurfaceView(SurfaceView surfaceView) {
if (this.mHolder != null) {
mHolder.removeCallback(this); // 清除上一次的
}
mHolder = surfaceView.getHolder();
mHolder.addCallback(this);
}
/**
* 让使用者设置播放的文件,或者直播地址
* @param dataSource
*/
public void setDataSource(String dataSource){
setDataSource(nativeHandle, dataSource);
}
/**
* 准备好要播放的视频
*/
@OnLifecycleEvent(Lifecycle.Event.ON_RESUME)
public void prepare() {
Log.e(TAG,"ZPlayer->prepare");
nativePrepare(nativeHandle);
}
/**
* 开始播放
*/
public void start(){
Log.e(TAG,"ZPlayer->start");
nativeStart(nativeHandle);
}
/**
* 停止播放
*/
@OnLifecycleEvent(Lifecycle.Event.ON_STOP)
public void stop(){
Log.e(TAG,"ZPlayer->stop");
nativeStop(nativeHandle);
}
@OnLifecycleEvent(Lifecycle.Event.ON_DESTROY)
public void release(){
Log.e(TAG,"ZPlayer->release");
mHolder.removeCallback(this);
nativeRelease(nativeHandle);
}
/**
* JavaCallHelper 会反射调用此方法
* @param errorCode
*/
public void onError(int errorCode, String ffmpegError){
Log.e(TAG,"Java接收到回调了->onError:"+errorCode);
String title = "\nFFmpeg给出的错误如下:\n";
String msg = null;
switch (errorCode){
case Constant.FFMPEG_CAN_NOT_OPEN_URL:
msg = "打不开视频"+title+ ffmpegError;
break;
case Constant.FFMPEG_CAN_NOT_FIND_STREAMS:
msg = "找不到流媒体"+title+ ffmpegError;
break;
case Constant.FFMPEG_FIND_DECODER_FAIL:
msg = "找不到解码器"+title+ ffmpegError;
break;
case Constant.FFMPEG_ALLOC_CODEC_CONTEXT_FAIL:
msg = "无法根据解码器创建上下文"+title+ ffmpegError;
break;
case Constant.FFMPEG_CODEC_CONTEXT_PARAMETERS_FAIL:
msg = "根据流信息 配置上下文参数失败"+title+ ffmpegError;
break;
case Constant.FFMPEG_OPEN_DECODER_FAIL:
msg = "打开解码器失败"+title+ ffmpegError;
break;
case Constant.FFMPEG_NOMEDIA:
msg = "没有音视频"+title+ ffmpegError;
break;
}
if(onErrorListener != null ){
onErrorListener.onError(msg);
}
}
/**
* JavaCallHelper 会反射调用此方法
*/
public void onPrepare(){
Log.e(TAG,"Java接收到回调了->onPrepare");
if(listener != null){
listener.onPrepare();
}
}
public void onProgress(int progress){
if(onProgressListener != null){
onProgressListener.onProgress(progress);
}
}
@Override
public void surfaceCreated(SurfaceHolder surfaceHolder) {
Log.e(TAG,"ZPlayer->surfaceCreated");
}
@Override
public void surfaceChanged(SurfaceHolder surfaceHolder, int i, int i1, int i2) {
Log.e(TAG,"ZPlayer->surfaceChanged");
nativeSetSurface(nativeHandle,surfaceHolder.getSurface());
}
@Override
public void surfaceDestroyed(SurfaceHolder surfaceHolder) {
Log.e(TAG,"ZPlayer->surfaceDestroyed");
}
public int getDuration() {
return getNativeDuration(nativeHandle);
}
public void seek(int playProgress) {
nativeSeek(playProgress,nativeHandle);
}
public interface OnPrepareListener{
void onPrepare();
}
public void setOnPrepareListener(OnPrepareListener listener){
this.listener = listener;
}
public interface OnProgressListener{
void onProgress(int progress);
}
public void setOnProgressListener(OnProgressListener listener){
this.onProgressListener = listener;
}
public interface OnErrorListener{
void onError(String errorCode);
}
public void setOnErrorListener(OnErrorListener listener){
this.onErrorListener = listener;
}
private native long nativeInit();
private native void setDataSource(long nativeHandle, String path);
private native void nativePrepare(long nativeHandle);
private native void nativeStart(long nativeHandle);
private native void nativeStop(long nativeHandle);
private native void nativeRelease(long nativeHandle);
private native void nativeSetSurface(long nativeHandle, Surface surface);
private native int getNativeDuration(long nativeHandle);
private native void nativeSeek(int playValue,long nativeHandle);
}
编写MainActivity.java类
public class MainActivity extends AppCompatActivity implements SeekBar.OnSeekBarChangeListener {
private ActivityMainBinding binding;
private int PERMISSION_REQUEST = 0x1001;
private ZPlayer mPlayer;
// 用户是否拖拽里
private boolean isTouch = false;
// 获取native层的总时长
private int duration ;
@Override
protected void onCreate(Bundle savedInstanceState) {
super.onCreate(savedInstanceState);
binding = ActivityMainBinding.inflate(getLayoutInflater());
setContentView(binding.getRoot());
checkPermission();
binding.seekBar.setOnSeekBarChangeListener(this);
mPlayer = new ZPlayer();
getLifecycle().addObserver(mPlayer);
mPlayer.setSurfaceView(binding.surfaceView);
mPlayer.setDataSource("/sdcard/demo.mp4");
// mPlayer.setDataSource("/sdcard/chengdu.mp4");
mPlayer.setOnPrepareListener(new ZPlayer.OnPrepareListener() {
@Override
public void onPrepare() {
duration = mPlayer.getDuration();
runOnUiThread(new Runnable() {
@Override
public void run() {
binding.seekBarTimeLayout.setVisibility(duration != 0 ? View.VISIBLE : View.GONE);
if(duration != 0){
binding.tvTime.setText("00:00/"+getMinutes(duration)+":"+getSeconds(duration));
}
binding.tvState.setTextColor(Color.GREEN);
binding.tvState.setText("恭喜init初始化成功");
}
});
mPlayer.start();
}
});
mPlayer.setOnErrorListener(new ZPlayer.OnErrorListener() {
@Override
public void onError(String errorCode) {
runOnUiThread(new Runnable() {
@Override
public void run() {
binding.tvState.setTextColor(Color.RED);
binding.tvState.setText(errorCode);
}
});
}
});
mPlayer.setOnProgressListener(new ZPlayer.OnProgressListener() {
@Override
public void onProgress(int progress) {
if (!isTouch){
runOnUiThread(new Runnable() {
@Override
public void run() {
// 非直播,是本地视频文件
if(duration != 0) {
binding.tvTime.setText(getMinutes(progress) + ":" + getSeconds(progress)
+ "/" + getMinutes(duration) + ":" + getSeconds(duration));
binding.seekBar.setProgress(progress * 100 / duration);
}
}
});
}
}
});
}
private void checkPermission() {
if(ContextCompat.checkSelfPermission(this, Manifest.permission.WRITE_EXTERNAL_STORAGE) !=
PackageManager.PERMISSION_GRANTED){
Log.e("zuo","无权限,去申请权限");
ActivityCompat.requestPermissions(this, new String[]{Manifest.permission.WRITE_EXTERNAL_STORAGE}, PERMISSION_REQUEST);
}else {
Log.e("zuo","有权限");
}
}
@Override
public void onRequestPermissionsResult(int requestCode, @NonNull String[] permissions, @NonNull int[] grantResults) {
super.onRequestPermissionsResult(requestCode, permissions, grantResults);
if(requestCode == PERMISSION_REQUEST){
Log.e("zuo","申请到权限"+grantResults.length);
if (grantResults[0] == PackageManager.PERMISSION_GRANTED){
Toast.makeText(this,"已申请权限",Toast.LENGTH_SHORT).show();
}else {
Toast.makeText(this,"申请权限失败",Toast.LENGTH_SHORT).show();
}
}
}
private String getSeconds(int duration){
int seconds = duration % 60;
String str ;
if(seconds <= 9){
str = "0"+seconds;
}else {
str = "" + seconds;
}
return str;
}
private String getMinutes(int duration){
int minutes = duration / 60;
String str ;
if(minutes <= 9){
str = "0"+minutes;
}else {
str = "" + minutes;
}
return str;
}
/**
* 当前拖动条进度发送了改变,毁掉此方法
* @param seekBar 控件
* @param progress 1~100
* @param fromUser 是否用户拖拽导致到改变
*/
@Override
public void onProgressChanged(SeekBar seekBar, int progress, boolean fromUser) {
if(fromUser) {
binding.tvTime.setText(getMinutes(progress * duration / 100) + ":" + getSeconds(progress * duration / 100)
+ "/" + getMinutes(duration) + ":" + getSeconds(duration));
}
}
//手按下去,毁掉此方法
@Override
public void onStartTrackingTouch(SeekBar seekBar) {
isTouch = true;
}
// 手松开(SeekBar当前值)回调此方法
@Override
public void onStopTrackingTouch(SeekBar seekBar) {
isTouch = false;
int seekBarProgress = seekBar.getProgress();
int playProgress = seekBarProgress * duration / 100;
mPlayer.seek(playProgress);
}
}
编写native-lib.cpp
java调用native方法的入口
#include <jni.h>
#include <string>
#include "ZPlayer.h"
#define LOG_TAG "native-lib"
ZPlayer *zPlayer = nullptr;
JavaVM *javaVm = nullptr;
JavaCallHelper *helper = nullptr;
ANativeWindow *window = nullptr;
pthread_mutex_t mutex = PTHREAD_MUTEX_INITIALIZER;
int JNI_OnLoad(JavaVM *vm,void *r){
javaVm = vm;
return JNI_VERSION_1_6;
}
extern "C"
JNIEXPORT jlong JNICALL
Java_com_zxj_zplayer_ZPlayer_nativeInit(JNIEnv *env, jobject thiz) {
//创建播放器
helper = new JavaCallHelper(javaVm,env,thiz);
zPlayer = new ZPlayer(helper);
return (jlong)zPlayer;
}
extern "C"
JNIEXPORT void JNICALL
Java_com_zxj_zplayer_ZPlayer_setDataSource(JNIEnv *env, jobject thiz, jlong native_handle,
jstring path) {
const char *dataSource = env->GetStringUTFChars(path, nullptr);
ZPlayer *zPlayer = reinterpret_cast<ZPlayer *>(native_handle);
zPlayer->setDataSource(dataSource);
env->ReleaseStringUTFChars(path,dataSource);
}
extern "C"
JNIEXPORT void JNICALL
Java_com_zxj_zplayer_ZPlayer_nativePrepare(JNIEnv *env, jobject thiz, jlong native_handle) {
ZPlayer *zPlayer = reinterpret_cast<ZPlayer *>(native_handle);
zPlayer->prepare();
}
extern "C"
JNIEXPORT void JNICALL
Java_com_zxj_zplayer_ZPlayer_nativeStart(JNIEnv *env, jobject thiz, jlong native_handle) {
ZPlayer *zPlayer = reinterpret_cast<ZPlayer *>(native_handle);
zPlayer->start();
}
extern "C"
JNIEXPORT void JNICALL
Java_com_zxj_zplayer_ZPlayer_nativeStop(JNIEnv *env, jobject thiz, jlong native_handle) {
ZPlayer *zPlayer = reinterpret_cast<ZPlayer *>(native_handle);
zPlayer->stop();
if(helper){
DELETE(helper);
}
}
extern "C"
JNIEXPORT void JNICALL
Java_com_zxj_zplayer_ZPlayer_nativeRelease(JNIEnv *env, jobject thiz, jlong native_handle) {
pthread_mutex_lock(&mutex);
if(window){
ANativeWindow_release(window);
window = nullptr;
}
pthread_mutex_unlock(&mutex);
DELETE(helper);
DELETE(zPlayer);
DELETE(javaVm);
DELETE(window);
}
extern "C"
JNIEXPORT void JNICALL
Java_com_zxj_zplayer_ZPlayer_nativeSetSurface(JNIEnv *env, jobject thiz, jlong native_handle,
jobject surface) {
pthread_mutex_lock(&mutex);
//先释放之前的显示窗口
if(window){
LOGE("nativeSetSurface->window=%p",window);
ANativeWindow_release(window);
window = nullptr;
}
window = ANativeWindow_fromSurface(env,surface);
ZPlayer *zPlayer = reinterpret_cast<ZPlayer *>(native_handle);
zPlayer->setWindow(window);
pthread_mutex_unlock(&mutex);
}
extern "C"
JNIEXPORT jint JNICALL
Java_com_zxj_zplayer_ZPlayer_getNativeDuration(JNIEnv *env, jobject thiz, jlong native_handle) {
ZPlayer *zPlayer = reinterpret_cast<ZPlayer *>(native_handle);
if(zPlayer){
return zPlayer->getDuration();
}
return 0;
}
extern "C"
JNIEXPORT void JNICALL
Java_com_zxj_zplayer_ZPlayer_nativeSeek(JNIEnv *env, jobject thiz, jint play_value,
jlong native_handle) {
ZPlayer *zPlayer = reinterpret_cast<ZPlayer *>(native_handle);
if(zPlayer){
zPlayer->seek(play_value);
}
}
编写JavaCallHelper.cpp
这个类主要用作:处理音视频后各个状态回调java方法
#include "JavaCallHelper.h"
#define LOG_TAG "JavaCallHelper"
JavaCallHelper::JavaCallHelper(JavaVM *vm, JNIEnv *env, jobject instace) {
this->vm = vm;
//如果在主线程回调
this->env = env;
//一旦涉及到jobject 跨方法/跨线程 就需要创建全局引用
this->instace = env->NewGlobalRef(instace);
jclass clazz = env->GetObjectClass(instace);
onErrorId = env->GetMethodID(clazz, "onError", "(ILjava/lang/String;)V");
onPrepareId = env->GetMethodID(clazz, "onPrepare", "()V");
onProgressId = env->GetMethodID(clazz, "onProgress", "(I)V");
}
JavaCallHelper::~JavaCallHelper() {
env->DeleteGlobalRef(this->instace);
}
void JavaCallHelper::onError(int thread, int errorCode,char * ffmpegError) {
//主线程
if(thread == THREAD_MAIN){
jstring _ffmpegError = env->NewStringUTF(ffmpegError);
env->CallVoidMethod(instace,onErrorId,errorCode,_ffmpegError);
} else{
//子线程
JNIEnv *env;
if (vm->AttachCurrentThread(&env, 0) != JNI_OK) {
return;
}
jstring _ffmpegError = env->NewStringUTF(ffmpegError);
env->CallVoidMethod(instace,onErrorId,errorCode,_ffmpegError);
vm->DetachCurrentThread();//解除附加,必须要
}
}
void JavaCallHelper::onPrepare(int thread) {
//主线程
if(thread == THREAD_MAIN){
env->CallVoidMethod(instace,onPrepareId);
} else{
//子线程
JNIEnv *env;
if (vm->AttachCurrentThread(&env, 0) != JNI_OK) {
return;
}
env->CallVoidMethod(instace,onPrepareId);
vm->DetachCurrentThread();
}
}
void JavaCallHelper::onProgress(int thread, int progress) {
if(thread == THREAD_MAIN){
env->CallVoidMethod(instace,onProgressId,progress);
} else{
//子线程
JNIEnv *env;
if (vm->AttachCurrentThread(&env, 0) != JNI_OK) {
return;
}
env->CallVoidMethod(instace,onProgressId,progress);
vm->DetachCurrentThread();
}
}
编写ZPlayer.cpp
主要处理音视频的
#include <cstring>
#include "ZPlayer.h"
#include "macro.h"
void *task_prepare(void *args) {
ZPlayer *zFmpeg = static_cast<ZPlayer *>(args);
zFmpeg->_prepare();
return 0;
}
ZPlayer::ZPlayer(JavaCallHelper *callHelper, const char *dataSource) {
this->callHelper = callHelper;
//这样写会报错,dataSource会在native-lib.cpp里的方法里会被释放掉,那么这里拿到的dataSource是悬空指针
// this->dataSource = const_cast<char *>(dataSource);
this->dataSource = new char[strlen(dataSource)];
strcpy(this->dataSource, dataSource);
}
ZPlayer::~ZPlayer() {
//释放
// delete this->dataSource;
// this->dataSource = nullptr;
DELETE(dataSource);
DELETE(callHelper);
}
void ZPlayer::prepare() {
pthread_create(&pid, 0, task_prepare, this);
}
void ZPlayer::_prepare() {
//初始化网络,不调用这个,FFmpage是无法联网的
avformat_network_init();
//AVFormatContext 包含了视频的信息(宽、高等)
formatContext = 0;
//1、打开媒体地址(文件地址、直播地址)
int ret = avformat_open_input(&formatContext, dataSource, 0, 0);
//ret不为0表示打开媒体失败
if (ret) {
LOGE("打开媒体失败:%s", av_err2str(ret));
callHelper->onError(THREAD_CHILD, FFMPEG_CAN_NOT_OPEN_URL);
return;
}
//2、查找媒体中的音视频流
ret = avformat_find_stream_info(formatContext, 0);
//小于0则失败
if (ret < 0) {
LOGE("查找流失败:%s", av_err2str(ret));
callHelper->onError(THREAD_CHILD, FFMPEG_CAN_NOT_FIND_STREAMS);
return;
}
//经过avformat_find_stream_info方法后,formatContext->nb_streams就有值了
unsigned int streams = formatContext->nb_streams;
//nb_streams :几个流(几段视频/音频)
for (int i = 0; i < streams; ++i) {
//可能代表是一个视频,也可能代表是一个音频
AVStream *stream = formatContext->streams[i];
//包含了解码 这段流的各种参数信息(宽、高、码率、帧率)
AVCodecParameters *codecpar = stream->codecpar;
//无论视频还是音频都需要干的一些事情(获得解码器)
// 1、通过当前流使用的编码方式,查找解码器
AVCodec *avCodec = avcodec_find_decoder(codecpar->codec_id);
if (avCodec == nullptr) {
LOGE("查找解码器失败:%s", av_err2str(ret));
callHelper->onError(THREAD_CHILD, FFMPEG_FIND_DECODER_FAIL);
return;
}
//2、获得解码器上下文
AVCodecContext *context3 = avcodec_alloc_context3(avCodec);
if (context3 == nullptr) {
LOGE("创建解码上下文失败:%s", av_err2str(ret));
callHelper->onError(THREAD_CHILD, FFMPEG_ALLOC_CODEC_CONTEXT_FAIL);
return;
}
//3、设置上下文内的一些参数 (context->width)
ret = avcodec_parameters_to_context(context3, codecpar);
if (ret < 0) {
LOGE("设置解码上下文参数失败:%s", av_err2str(ret));
callHelper->onError(THREAD_CHILD, FFMPEG_CODEC_CONTEXT_PARAMETERS_FAIL);
return;
}
// 4、打开解码器
ret = avcodec_open2(context3, avCodec, 0);
if (ret != 0) {
LOGE("打开解码器失败:%s", av_err2str(ret));
callHelper->onError(THREAD_CHILD, FFMPEG_OPEN_DECODER_FAIL);
return;
}
//音频
if (codecpar->codec_type == AVMEDIA_TYPE_AUDIO) {
audioChannel = new AudioChannel;
} else if (codecpar->codec_type == AVMEDIA_TYPE_VIDEO) {
videoChannel = new VideoChannel;
}
}
if (!audioChannel && !videoChannel) {
LOGE("没有音视频");
callHelper->onError(THREAD_CHILD, FFMPEG_NOMEDIA);
return;
}
// 准备完了 通知java 你随时可以开始播放
callHelper->onPrepare(THREAD_CHILD);
}
核心代码差不多是这些,现在我们可以先测试一下,编译运行会发现报错

报这个错是因为,FFmpeg的版本问题,在上一篇《FFmpeg编译》中我们在编译FFmpeg的库的时候,指定了-D__ANDROID_API__=21,而我们项目中的minSdkVersion为14,所以需要修改minSdkVersion为21就可以了。
最后运行测试是没有问题的。
其他手机奔溃解决方法
上面编译源码使用到是"armeabi-v7a",但是有的手机是"arm64-v8a"架构到,所以直接运行就会报错,找不到so库

1.这时有两种解决方法
在build.gradle文件里加入ndk{abiFilters "armeabi-v7a"}就可以了
2.重新编译一个"arm64-v8a"的静态库,修改build.sh文件
#!/bin/bash
#执行生成makefile的shell脚本
PREFIX=./android/armeabi-v7a2
NDK_ROOT=/home/zuojie/android-ndk-r17c
CPU=aarch64-linux-android
TOOLCHAIN=$NDK_ROOT/toolchains/$CPU-4.9/prebuilt/linux-x86_64
FLAGS="-isystem $NDK_ROOT/sysroot/usr/include/$CPU -D__ANDROID_API__=21 -g -DANDROID -ffunction-sections -funwind-tables -fstack-protector-strong -no-canonical-prefixes -Wa,--noexecstack -Wformat -Werror=format-security -O0 -fPIC"
#FLAGS="-isystem $NDK_ROOT/sysroot/usr/include/$CPU -D__ANDROID_API__=21 -g -DANDROID -ffunction-sections -funwind-tables -fstack-protector-strong -no-canonical-prefixes -march=armv7-a -mfloat-abi=softfp -mfpu=vfpv3-d16 -mthumb -Wa,--noexecstack -Wformat -Werror=format-security -O0 -fPIC"
INCLUDES=" -isystem $NDK_ROOT/sources/android/support/include"
# \ 换行连接符
./configure --prefix=$PREFIX \
--enable-small \
--disable-programs \
--disable-avdevice \
--disable-postproc \
--disable-encoders \
--disable-muxers \
--disable-filters \
--enable-cross-compile \
--cross-prefix=$TOOLCHAIN/bin/$CPU- \
--disable-shared \
--enable-static \
--sysroot=$NDK_ROOT/platforms/android-21/arch-arm64 \
--extra-cflags="$FLAGS $INCLUDES" \
--extra-cflags="-isysroot $NDK_ROOT/sysroot/" \
--arch=arm64 \
--target-os=android
# 清理一下
make clean
#执行makefile
make install
将编译好生成的静态库考入到项目到指定目录下
原文地址: https://www.cnblogs.com/zuojie/p/16461050.html#autoid-1-2-0
主流的音视频全栈开发技术 跳转
整理了一些音视频开发学习书籍、视频资料(音视频流媒体高级开发FFmpeg6.0/WebRTC/RTMP/RTSP/编码解码),有需要的可以自行添加学习交流群:739729163 领取!
魔乐社区(Modelers.cn) 是一个中立、公益的人工智能社区,提供人工智能工具、模型、数据的托管、展示与应用协同服务,为人工智能开发及爱好者搭建开放的学习交流平台。社区通过理事会方式运作,由全产业链共同建设、共同运营、共同享有,推动国产AI生态繁荣发展。
更多推荐



所有评论(0)